Главная >> Колебания и волны. Физика 11 класс. Мякишев

Глава 2. Электрические колебания

§ 2.11. Резонанс в электрической цепи

При изучении вынужденных механических колебаний мы познакомились с важным явлением — резонансом. Резонанс наблюдается в том случае, когда собственная частота колебаний системы совпадает с частотой внешней силы. При малом трении происходит резкое увеличение амплитуды установившихся вынужденных колебаний.
Совпадение законов механических и электромагнитных колебаний сразу же позволяет сделать заключение о возможности резонанса в электрической цепи, если эта цепь представляет собой колебательный контур, обладающий определенной собственной частотой колебаний.

Амплитуда силы тока при вынужденных колебаниях в контуре, совершающихся под действием внешнего гармонически изменяющегося напряжения, определяется формулой (2.9.3).

При фиксированном напряжении и заданных значениях R, L и С амплитуда силы тока достигает максимума при частоте ω, удовлетворяющей соотношению

Знаменатель в формуле (2.9.3) становится при этом минимальным, и амплитуда силы тока достигает максимального значения

Эта амплитуда особенно велика при малом R.

Из уравнения (2.11.1) можно определить циклическую частоту переменного тока, при которой сила тока максимальна:

Эта частота совпадает с частотой свободных колебаний в контуре с малым активным сопротивлением (см. § 2.3).

Резкое возрастание амплитуды вынужденных колебаний силы тока в колебательном контуре с малым активным сопротивлением происходит при совпадении частоты внешнего переменного напряжения с собственной частотой колебательного контура. В этом состоит явление резонанса в электрическом колебательном контуре.

Резонанс выражен тем отчетливее, чем меньше энергетические потери в цепи, т. е. чем меньше сопротивление R. При R → 0 резонансное значение силы тока неограниченно возрастает: Iрез → ∞. Наоборот, с увеличением R максимальное значение тока уменьшается, и при больших R говорить о резонансе уже не имеет смысла. Зависимость амплитуды силы тока от частоты при различных сопротивлениях показана на рисунке 2.24 (R1 < R2 < R3).

Одновременно с ростом силы тока при резонансе резко возрастают напряжения на конденсаторе и катушке индуктивности. Эти напряжения становятся одинаковыми и во много раз превосходят внешнее напряжение.

Действительно,

Внешнее напряжение связано с резонансной силой тока так:

При резонансе сдвиг фаз между током и напряжением становится согласно формуле (2.9.8) равным нулю. Наглядно это можно пояснить так. Колебания напряжения на катушке индуктивности и конденсаторе всегда происходят в противофазе. Резонансные амплитуды этих напряжений одинаковы. В результате напряжения на катушке и конденсаторе полностью компенсируют друг друга (uL = -uС), и падение напряжения происходит только на участке с активным сопротивлением.

Согласно выражению для мощности (2.10.4) равенство нулю сдвига фаз между напряжением и током при резонансе обеспечивает оптимальные условия для поступления энергии от источника переменного напряжения в цепь. Здесь полная аналогия с механическими колебаниями: при резонансе внешняя сила (аналог напряжения в цепи) совпадает по фазе со скоростью (аналог силы тока).

Может возникнуть вопрос: откуда система получает при резонансе большую энергию? Здесь происходит то же самое, что и в случае механического резонанса. Не сразу после включения внешнего напряжения в цепи установится резонансное значение силы тока. Установление колебаний в контуре происходит постепенно. Чем меньше R, тем больше времени пройдет, пока амплитуда силы тока достигнет своего максимального значения за счет энергии, поступающей от источника.

Для наблюдения резонанса в электрической цепи собирают установку (рис. 2.25). В ней используется внешний источник переменного напряжения регулируемой частоты. Увеличивая постепенно частоту колебаний внешнего напряжения, можно наблюдать, как изменяется сила тока в цепи, измеряемая амперметром, и напряжение на конденсаторе или катушке индуктивности, измеряемое вольтметром. Эти величины возрастают при резонансе в десятки или даже сотни раз.

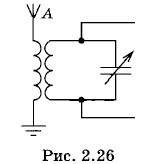
Явление электрического резонанса используется, в частности, при осуществлении радиосвязи. Радиоволны от различных передающих станций возбуждают в антенне радиоприемника переменные токи различных частот (рис. 2.26), так как каждая передающая радиостанция работает на своей частоте. С антенной индуктивно связан колебательный контур. Вследствие электромагнитной индукции в контурной катушке возникают переменные ЭДС соответствующих частот и вынужденные колебания силы тока этих же частот. Но только при резонансе колебания силы тока в контуре и напряжения на конденсаторе контура будут значительными. Имея это в виду, говорят, что из колебаний всех частот, возбужденных в антенне, контур выделяет только колебания, частота которых равна собственной частоте контура. Настройка контура на нужную частоту ω0 обычно осуществляется путем изменения емкости конденсатора. В этом состоит настройка радиоприемника на определенную радиостанцию.

В некоторых случаях резонанс в электрической цепи может принести большой вред. Если цепь не рассчитана на работу в условиях резонанса, то возникновение резонанса приведет к аварии. Чрезмерно большие токи могут перегреть провода. Большие напряжения приведут к пробою изоляции. Такого рода аварии нередко случались в прошлом веке, когда плохо представляли себе законы электрических колебаний и не умели правильно рассчитывать электрические цепи.

 

 

???????@Mail.ru